您好,歡迎訪問廊坊預則立建筑材料科技有限公司!
您好,歡迎訪問廊坊預則立建筑材料科技有限公司!

產品展示PRODUCTS
聯系我們CONTACT
廊坊預則立建筑材料科技有限公司
手 機:13910112903
傳 真:0316-6086019
郵 箱:lfyuzeli@126.com
地 址:河北省廊坊市廣陽區北旺鎮許各莊村幸福街20號
優勢
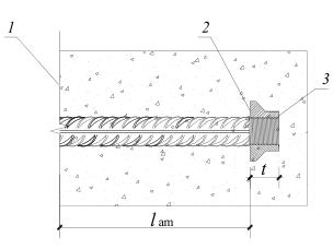
我公司錨固板毛坯采用45#圓鋼鍛造制作,通過國家建筑工程質量監督檢驗中心的檢測。符合《鋼筋錨固板應用技術規程》JGJ256-2011標準要求。錨固板依靠錨固長度范圍內鋼筋與混凝土的粘接作用和錨固板承壓面的承壓作用共同承擔鋼筋規定錨固力,適用于混凝土結構或其它需錨固鋼筋場合下鋼筋的錨固,鋼筋的適用直徑為12-50mm。
錨固板示意圖

上一篇:沒有了!
下一篇:沒有了!
新聞中心
產品展示
